PRODUCT DISPLAY
- Product parameters
- Return
|
Type |
Universal Type |
Coupling Designated size |
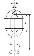
Dimension (mm) |
Rated failure load(kN) |
||||
|
d |
d1 |
C |
h |
h1 |
||||
|
QH-7 |
QH-07100 |
16 |
16 |
17 |
24 |
100 |
57 |
70 |
|
QH-10 |
- |
16 |
16 |
17 |
24 |
100 |
57 |
100 |
|
QH-12 |
- |
16 |
18 |
17 |
24 |
114 |
65 |
120 |
|
QH-16 |
- |
20 |
20 |
21 |
34 |
155 |
100 |
160 |
|
- |
QH-16155 |
20 |
20 |
21 |
24 |
155 |
100 |
160 |
|
QH-21 |
- |
20 |
20 |
21 |
26 |
138 |
80 |
210 |
|
- |
QH-21140 |
20 |
20 |
21 |
26 |
140 |
83 |
210 |
|
- |
QH-21155 |
20 |
20 |
21 |
26 |
155 |
100 |
210 |
|
QH-3224G |
- |
24 |
28 |
25 |
34 |
175 |
110 |
320 |
|
- |
QH-32175 |
24 |
28 |
25 |
32 |
175 |
110 |
320 |
|
QH-4228G |
- |
28 |
32 |
29 |
36 |
200 |
120 |
420 |
|
- |
QH-42200 |
28 |
32 |
29 |
40 |
200 |
120 |
420 |
|
QH-5532G |
- |
32 |
34 |
33 |
40 |
200 |
140 |
550 |
Message Feedback



